Shop Parts & Accessories

Shop Aftermarket

Shop Clearance

Tire AutoNation Parts

Tires, wheels, and more.

We can get you there

Categories

Browse Categories

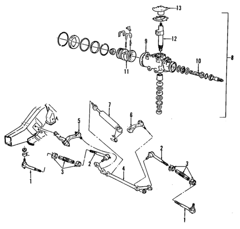
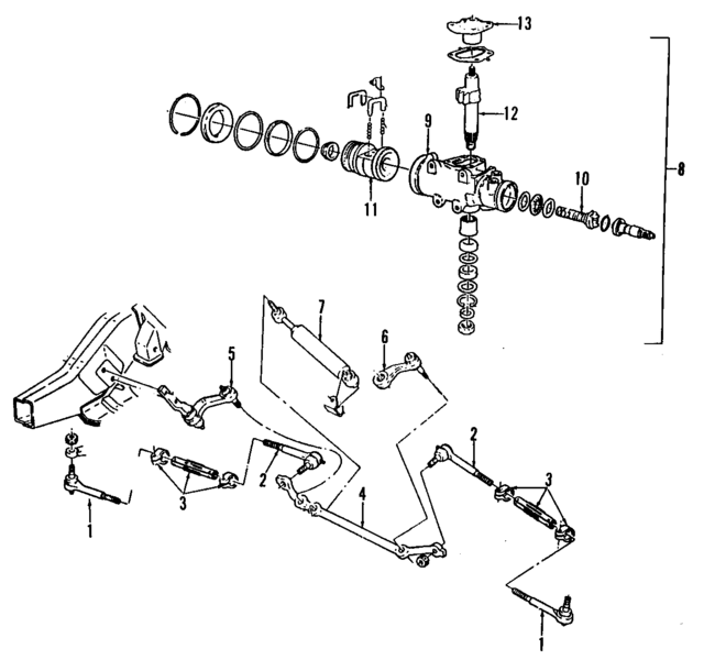
P/S Pump & Hoses for 1991 Chevrolet K2500 Pickup

P/S Pump & Hoses for 1991 Chevrolet K2500 Pickup #0
P/S Pump & Hoses for 1991 Chevrolet K2500 Pickup #0
No.
Part # / Description / Price
Price
N/A
Power Steering Pump 1
GM GM
Notes: Order By Description. Parts & Prices For Estimating Only.
Description: 1/2 & 3/4 ton, gas. All models. 4.3l. 5.7L.
N/A
Steering Gear Rack Seal Kit
GM GM
Description: Piston cylinder seal kit. All. G10-30 vans. Express, savana. Pick-up. Hummer H2. Rack & piston seal kit. This GM Genuine Part is designed, engineered, and tested to rigorous standards and is backed by General Motors
Rack and Pinion Seal Kit.
N/A
Steering Gear Valve Seal Kit
GM GM
Description: This GM Genuine Part is designed, engineered, and tested to rigorous standards and is backed by General Motors
Steering Gear Seal Kit.
MSRP $64.05
$45.99
MSRP $64.05
$45.99
N/A
Pitman Shaft Seal
GM GM
Description: Express, savana. 4wd. All models. 1/2 ton. With silverado, sierra. Without crew cab. 2wd. Hummer H2.
N/A
Power Steering Fluid Cooler
GM GM
Notes: Order By Description. Parts & Prices For Estimating Only.
Description: All models. With hd cooling, with hd cooling. 6.2L diesel. 7.4L. 6.5L diesel. 5.0 & 5.7L, 5.7L, 2wd. 5.0 & 5.7L, 5.0L. This GM Genuine Part is designed, engineered, and tested to rigorous standards and is backed by General Motors
A stand alone cooler used to cool the power steering system.
N/A
Pressure Hose
GM GM
Description: All models. 1/2 ton. 5.0l. All models. 3/4 ton. 5.0l. All. 3/4 ton. 5.7l.
N/A
Seal Kit
GM GM
Description: All models. Adjusting plug seal kit. Pick-up. Without 6.2l diesel.
N/A
Return Hose
GM GM
Description: All models. Without 4.3L. All. 1/2 ton. 5.0l, 5.7l. All. 3/4 ton. 5.0l, 5.7l.
N/A
Pressure Hose
GM GM
Description: Without dual rear wheels. All. 1 ton. 7.4l. All. 3/4 ton. 7.4l.
N/A
Multi-Purpose Seal 2
GM GM
Description: This GM Genuine Part is designed, engineered, and tested to rigorous standards and is backed by General Motors
Not For Sale
Not For Sale
1
Outer Tie Rod
GM GM
Description: All models. 2wd. 4wd. Express, savana. Exc.gvw 15,000 lbs. 1/2, 3/4 & 1 ton, 1996 new style,.
2
Inner Tie Rod
GM GM
Description: All models. 4wd. Astro, Safari.
4
Center Link
GM GM
Description: All models. Under 7500 gvw. 4wd, 3/4 ton, 7200 gvwr. 4wd, 1 ton.
4
Center Link
GM GM
Description: All models. Over 7500 gvw. 4wd, 3/4 ton, 8600 gvwr. 4wd, 1 ton.
5
Idler Arm Assembly
GM GM
Description: 4wd. All models. Arm Replacement.
6
Pitman Arm
GM GM
Description: All models. Exc.gvw 15,000 lbs.
7
Steering Linkage Shock Absorber
GM GM
Description: All models. S-series. 4wd, manual steering. 4wd, power steering. Helps provide excellent steering comfort This GM Genuine Part is designed, engineered, and tested to rigorous standards and is backed by General Motors
8
Steering Gear Box
GM GM
Notes: Order By Description. Parts & Prices For Estimating Only.
Description: All models. 1500-2500 series. 4wd, 3/4 ton. 4wd, 1/2 ton. 4wd, 2 door. 4wd, 4 door.
9
Steering Gear Housing
GM GM
Notes: Order By Description. Parts & Prices For Estimating Only.
Description: All. 4wd. 2wd.
11
Rack And Pinion Rack Gear
GM GM
Notes: Order By Description. Parts & Prices For Estimating Only.
Description:
Rack And Pinion Rack Gear.
MSRP $313.14
$221.32
MSRP $313.14
$221.32
12
Pitman Shaft
GM GM
Description: All models. Pick-up.
13
Steering Gear Housing Cover
GM GM
Description: G10-30 vans. 4wd. All. Express, savana. 3/4 ton, 8500 & 8600 gvw, 1 ton. 2500 series. 2wd. 2 wheel drive 3/4, 1 ton. 2003-07. This GM Genuine Part is designed, engineered, and tested to rigorous standards and is backed by General Motors
Is used to close off and seal the inside of the Steering Gear Box. Some provide a place for adjustment of the Sector Shaft
MSRP $101.42
$71.68
MSRP $101.42
$71.68
1 This price excludes a refundable manufacturer's core charge. Add the part to your cart to see the core charge.
2 This part contains hazardous materials. Extra shipping costs apply.
Part # / Description / Price
Price
Pressure Hose
GM GM
Description: With dual rear wheels. All. 1 ton. 7.4l. Hydroboost to Gear. All models. 1 ton. 5.7l. All models. 1 ton. 6.2l diesel. All. 3/4 ton. 6.2l.