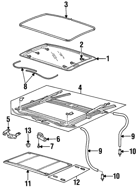
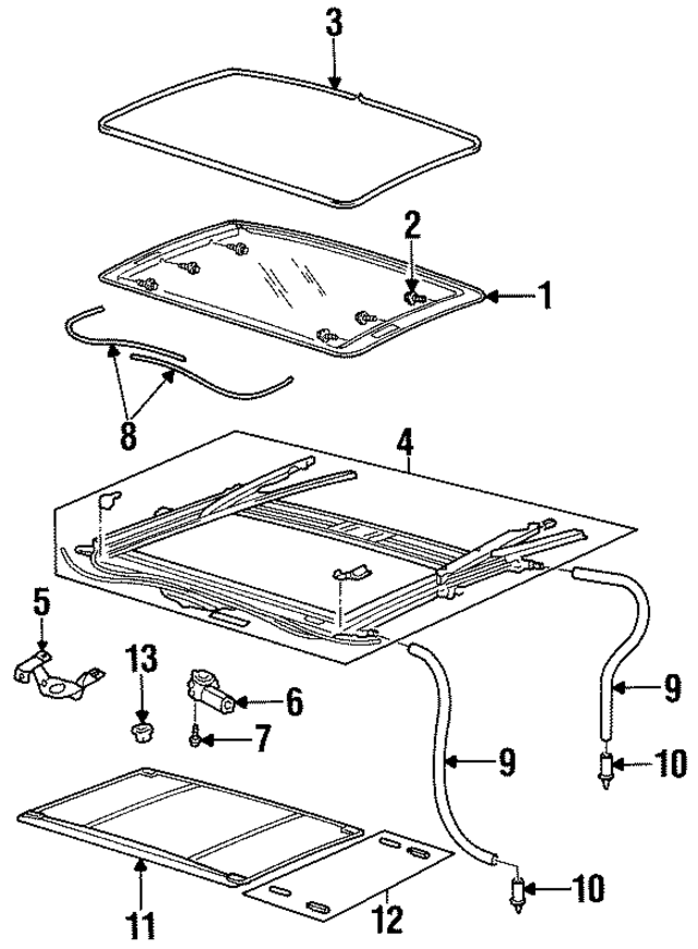
Sunroof for 1997 Chevrolet Monte Carlo
Tires, wheels, and more.
We can get you thereCategories
- Bumper & Components - Front
- Bumper & Components - Rear
- Center Armrest
- Cluster & Switches
- Components On Cowl
- Console
- Cowl
- Door
- Door & Components
- Ducts
- Exterior Trim - Door
- Exterior Trim - Fender
- Exterior Trim - Hood
- Exterior Trim - Quarter Panel
- Exterior Trim - Trunk
- Fender & Components
- Floor
- Front Door
- Front Seat Components
- Glass - Door
- Glass - Windshield
- Glass & Hardware
- Glass & Hardware - Back
- Hood & Components
- Inner Structure
- Instrument Panel
- Instrument Panel Components
- Interior Trim - Door
- Interior Trim - Pillars
- Interior Trim - Quarter Panels
- Interior Trim - Rear Body
- Interior Trim - Roof
- Labels
- Lid & Components
- Lock & Hardware
- Outside Mirrors
- Quarter Panel & Components
- Rear Body
- Rear Door
- Rear Floor & Rails
- Rear Seat Components
- Reveal Moldings
- Rocker
- Rocker Panel
- Roof & Components
- Seat Belt
- Sound System
- Spoiler
- Structural Components & Rails
- Sunroof
- Tracks & Components
- Trunk
- Uniside
- Wiper & Washer Components
- ABS Components
- Air Bag Components
- Alternator
- Antenna & Radio
- Backup Lamps
- Battery
- Battery & Related Components
- Bulbs - Chassis
- Control Modules
- Cruise Control System
- Daytime Running Lamp Components
- Door
- Electrical Components
- Electrical Connectors
- Flashers
- Front Door
- Front Seat Belts
- Fuse & Relay
- Headlamp Components
- High Mount Lamps
- Horn
- Ignition Lock
- Ignition System
- License Lamps
- Power Seats
- Powertrain Control
- Rear Door
- Rear Seat Belts
- Senders
- Sensors
- Side Marker Lamps
- Starter
- Sunroof
- Switches
- Switches, Solenoids & Actuators
- Tail Lamps
- Trunk
- Window Defroster
- Wipers
- Bumper & Components - Front
- Bumper & Components - Rear
- Center Armrest
- Cluster & Switches
- Components On Cowl
- Console
- Cowl
- Door
- Door & Components
- Ducts
- Exterior Trim - Door
- Exterior Trim - Fender
- Exterior Trim - Hood
- Exterior Trim - Quarter Panel
- Exterior Trim - Trunk
- Fender & Components
- Floor
- Front Door
- Front Seat Components
- Glass - Door
- Glass - Windshield
- Glass & Hardware
- Glass & Hardware - Back
- Hood & Components
- Inner Structure
- Instrument Panel
- Instrument Panel Components
- Interior Trim - Door
- Interior Trim - Pillars
- Interior Trim - Quarter Panels
- Interior Trim - Rear Body
- Interior Trim - Roof
- Labels
- Lid & Components
- Lock & Hardware
- Outside Mirrors
- Quarter Panel & Components
- Rear Body
- Rear Door
- Rear Floor & Rails
- Rear Seat Components
- Reveal Moldings
- Rocker
- Rocker Panel
- Roof & Components
- Seat Belt
- Sound System
- Spoiler
- Structural Components & Rails
- Sunroof
- Tracks & Components
- Trunk
- Uniside
- Wiper & Washer Components
- ABS Components
- Air Bag Components
- Alternator
- Antenna & Radio
- Backup Lamps
- Battery
- Battery & Related Components
- Bulbs - Chassis
- Control Modules
- Cruise Control System
- Daytime Running Lamp Components
- Door
- Electrical Components
- Electrical Connectors
- Flashers
- Front Door
- Front Seat Belts
- Fuse & Relay
- Headlamp Components
- High Mount Lamps
- Horn
- Ignition Lock
- Ignition System
- License Lamps
- Power Seats
- Powertrain Control
- Rear Door
- Rear Seat Belts
- Senders
- Sensors
- Side Marker Lamps
- Starter
- Sunroof
- Switches
- Switches, Solenoids & Actuators
- Tail Lamps
- Trunk
- Window Defroster
- Wipers
Browse Categories
Select category
- Bumper & Components - Front
- Bumper & Components - Rear
- Center Armrest
- Cluster & Switches
- Components On Cowl
- Console
- Cowl
- Door
- Door & Components
- Ducts
- Exterior Trim - Door
- Exterior Trim - Fender
- Exterior Trim - Hood
- Exterior Trim - Quarter Panel
- Exterior Trim - Trunk
- Fender & Components
- Floor
- Front Door
- Front Seat Components
- Glass - Door
- Glass - Windshield
- Glass & Hardware
- Glass & Hardware - Back
- Hood & Components
- Inner Structure
- Instrument Panel
- Instrument Panel Components
- Interior Trim - Door
- Interior Trim - Pillars
- Interior Trim - Quarter Panels
- Interior Trim - Rear Body
- Interior Trim - Roof
- Labels
- Lid & Components
- Lock & Hardware
- Outside Mirrors
- Quarter Panel & Components
- Rear Body
- Rear Door
- Rear Floor & Rails
- Rear Seat Components
- Reveal Moldings
- Rocker
- Rocker Panel
- Roof & Components
- Seat Belt
- Sound System
- Spoiler
- Structural Components & Rails
- Sunroof
- Tracks & Components
- Trunk
- Uniside
- Wiper & Washer Components
- ABS Components
- Air Bag Components
- Alternator
- Antenna & Radio
- Backup Lamps
- Battery
- Battery & Related Components
- Bulbs - Chassis
- Control Modules
- Cruise Control System
- Daytime Running Lamp Components
- Door
- Electrical Components
- Electrical Connectors
- Flashers
- Front Door
- Front Seat Belts
- Fuse & Relay
- Headlamp Components
- High Mount Lamps
- Horn
- Ignition Lock
- Ignition System
- License Lamps
- Power Seats
- Powertrain Control
- Rear Door
- Rear Seat Belts
- Senders
- Sensors
- Side Marker Lamps
- Starter
- Sunroof
- Switches
- Switches, Solenoids & Actuators
- Tail Lamps
- Trunk
- Window Defroster
- Wipers
- Bumper & Components - Front
- Bumper & Components - Rear
- Center Armrest
- Cluster & Switches
- Components On Cowl
- Console
- Cowl
- Door
- Door & Components
- Ducts
- Exterior Trim - Door
- Exterior Trim - Fender
- Exterior Trim - Hood
- Exterior Trim - Quarter Panel
- Exterior Trim - Trunk
- Fender & Components
- Floor
- Front Door
- Front Seat Components
- Glass - Door
- Glass - Windshield
- Glass & Hardware
- Glass & Hardware - Back
- Hood & Components
- Inner Structure
- Instrument Panel
- Instrument Panel Components
- Interior Trim - Door
- Interior Trim - Pillars
- Interior Trim - Quarter Panels
- Interior Trim - Rear Body
- Interior Trim - Roof
- Labels
- Lid & Components
- Lock & Hardware
- Outside Mirrors
- Quarter Panel & Components
- Rear Body
- Rear Door
- Rear Floor & Rails
- Rear Seat Components
- Reveal Moldings
- Rocker
- Rocker Panel
- Roof & Components
- Seat Belt
- Sound System
- Spoiler
- Structural Components & Rails
- Sunroof
- Tracks & Components
- Trunk
- Uniside
- Wiper & Washer Components
- ABS Components
- Air Bag Components
- Alternator
- Antenna & Radio
- Backup Lamps
- Battery
- Battery & Related Components
- Bulbs - Chassis
- Control Modules
- Cruise Control System
- Daytime Running Lamp Components
- Door
- Electrical Components
- Electrical Connectors
- Flashers
- Front Door
- Front Seat Belts
- Fuse & Relay
- Headlamp Components
- High Mount Lamps
- Horn
- Ignition Lock
- Ignition System
- License Lamps
- Power Seats
- Powertrain Control
- Rear Door
- Rear Seat Belts
- Senders
- Sensors
- Side Marker Lamps
- Starter
- Sunroof
- Switches
- Switches, Solenoids & Actuators
- Tail Lamps
- Trunk
- Window Defroster
- Wipers
Sunroof for 1997 Chevrolet Monte Carlo
No.
Part # / Description / Price
Price
2
Black Sunroof Window Bolt
GM
GM Description: Helps secure and attach your vehicle's sunroof window
This GM Genuine Part is designed, engineered, and tested to rigorous standards and is backed by General Motors
.
Collision parts are designed to help promote proper and safe repair